凿岩台车钻进液压系统分析与科学维保的研究
0 引言
凿岩台车是集机电液为一体的大型掘进开挖专用设备,具有作业范围大、施工效率高、集成化程度强、安全性能好等优点,广泛应用于隧道、矿山、煤矿等项目的“钻爆法”施工中。钻进液压系统是凿岩台车的核心工作系统,凿岩台车的该系统出现故障将直接降低施工效率,进而极大影响施工进度。西藏林芝市某隧道钻爆法施工采用的是搭配蒙特贝HC110凿岩机的智能型凿岩台车,其钻进液压系统可分为泵站液压系统、水气系统以及臂架液压系统。
1 凿岩台车钻进液压系统基本组成
1.1 凿岩台车泵站液压系统
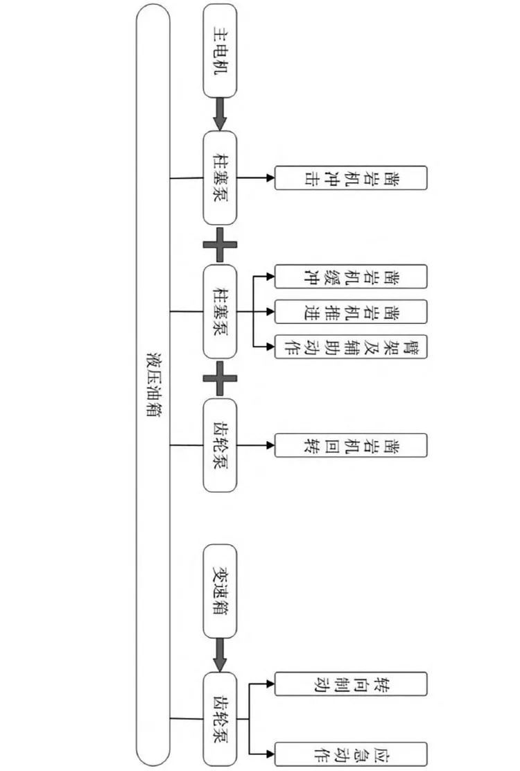
凿岩台车的液压泵站系统由两个轴向柱塞恒压变量泵泵1、泵2以及两个齿轮泵泵3、泵4组成(如图1),为整个凿岩台车的液压系统提供动力。

泵站液压系统中泵1和泵3的输出液压油分别控制凿岩机的冲击和回转,使凿岩机在以50~60Hz的频率冲击钎尾的同时以70~250/min的速度旋转,钻头通过不断的冲击和旋转来击碎岩石。泵2的输出液压油通过相应阀块控制凿岩机的缓冲、推进、臂架系统动作以及相关辅助动作,使凿岩机能精确移动到钻孔位置进行钻孔作业,并使钻头保持持续接触岩石的压力。泵4为一个双联齿轮泵,其中一个泵输出液压油控制凿岩台车的转向及制动功能,另一个泵的输出液压油用于在没有外接大电的情况下对凿岩台车的臂架及一些辅助动作进行控制。
1.2 凿岩台车水气系统
凿岩台车的水路系统主要由水管卷盘、冷却器、增压水泵、液控球阀、水流量计组成,其中冷却器为水冷热交换器,通过外接水源带走泵站系统中液压油的热量,使液压油维持在合适的温度。外接低压水通过增压水泵、液控球阀到达水流量计,当水流量计检测到管路中的水流量达到规定值后,智能型凿岩台车的程序会控制增压水泵自动开启,加压后的高压水经过液压管路到达钻头前端,在打钻过程中持续将产生的岩渣冲出,并对钻头进行冷却。
凿岩台车的气路系统主要由空压机、储气罐、电磁阀、脉冲泵组成,其中脉冲泵的主要作用是以一定的频率持续输出润滑油,润滑油与储气罐中的空气在凿岩机处混合,为凿岩机正常打钻提供油气润滑。储气罐的另一个接口经过一个电磁阀、单向阀与水路阀块相连,用于在施工结束后将水管卷盘及阀块中的水冲干净,防止由于外界环境温度过低将液压元器件冻坏。
凿岩台车钻孔结束后,炮孔里面会残留大量岩渣和水,因此需要将孔底的岩渣和水冲出,为装药及爆破效果提供保障。智能型凿岩台车的清孔模式有不冲洗、高压水冲洗、高压气冲洗三种,不同清孔模式可由操作人员根据围岩和隧道的实际情况进行选择。
1.3 凿岩台车臂架系统
在施工过程中,凿岩台车的车体一旦定位完成就不能移动,只能依靠机械臂的关节动作通过臂架的俯仰伸缩将凿岩机精准移动到指定钻孔��置,并支撑凿岩机完成冲击、推进和回退等动作,因此臂架系统是控制凿岩台车施工的核心机构与定位机构。
凿岩台车的臂架系统主要由PVG多路阀、油缸、液压锁组成,液压锁的主要作用是实现液压缸锁紧,保持臂架的稳定。臂架系统中的大臂伸缩油缸和推进梁伸缩油缸主要用于调整大臂和推进梁的伸出长度,大臂下部的两个油缸用于调整臂架的俯仰角度,外插角油缸以及推进梁摆动油缸用于调整推进梁在水平、竖直方向的360°的旋转摆动,凿岩机推进油缸通过控制牵引钢丝绳与回退钢丝绳来推动凿岩机沿推进梁方向的运动。
2 日常维保注意事项及要点
凿岩台车每完成一次钻孔作业,都需要专业人员对其进行日常维保,使其下一次钻孔作业能顺利进行。在日常维保过程中,要重点做好钻进液压系统的检修工作,在检修时要注意:
(1)拆装液压相关的元器件时,要保证拆装现场清洁干净,防止灰尘及异物进入液压系统;
(2)清洗液压元器件时要采用煤油或者同牌号液压油,并在清洗完成后对各接头部位进行封堵;
(3)在更换及安装液压管路时,如果有较长时间的中断需要用堵头将液压管路封住,保证管路及液压油清洁,并保证安装时液压管路的编号及安装位置对应正确。
2.1 定期检查并更换液压油
液压油的使用寿命因液压油品种、工作环境和系统运行工况不同而有较大差异。在长期的工作过程中,由于水、空气、杂质和金属磨损物的进入,在温度、压力、剪切作用下液压油会变质,影响液压系统的正常运行。液压油中混入污染物会导致液压元器件的磨损、阀芯卡滞,还可能造成滤芯堵塞使液压泵吸油困难,对设备的正常运行造成影响,因此要定期检查并更换液压油。液压油选用时要考虑设备的工作环境,选取不当会引起液压泵及液压元器件的内泄漏并产生大量热量,更换液压油时严禁不同品牌的液压油混用。
回油滤的作用是将液压系统中的油在其回油箱之前进行过滤净化,液压系统经过较长时间的使用,阀体和元器件密封处的磨损会进入液压系统,阀芯和滤芯堵塞时应该及时更换,否则滤芯被冲破后会污染整个液压系统。如果过滤器按照维修保养计划定期更换并且液压油顺利冷却,则不需要更换液压油,如果运行中的液压油己超出规定的技术要求(油己经氧化或者含有大量的水),则必须更换液压油。建议使用人员在初次工作1000小时第一次更换液压油,后续使用建议一年更换一次。更换液压油时要把原油液尽可能放干净,并在设备停放在水平位置、臂架收拢折叠、支腿收起时检查油位,此时液压油位应在液位计的可视窗最低油位和最高油位之间。
2.2 定期检查凿岩机压力设定值
在凿岩台车的隧道掘进过程中,卡钻是其比较常见的故障,造成卡钻的原因一般有:防卡钎压力设定问题、钻头磨损问题以及岩层问题。凿岩台车在施工过程中一旦发生卡钻,就需要操作手花费较长时间将钻杆拔出,极大影响施工效率,严重时会出现钻杆无法拔出的现象,造成钻头及钻杆损坏。当在打钻过程中实时显示的凿岩机回转压力大于防卡钎压力的设定值时,智能型凿岩台车的防卡逻辑会做出判断并及时做出一系列反应,降低凿岩机的冲击压力和推进压力。因此如果凿岩机的防卡钎压力设定值过高,卡钻现象就会频繁发生,防卡钎压力设定过低,防卡逻辑会产生误判动作严重影响施工效率,一般防卡钎压力设定值比正常钻孔时的回转压力高15个大气压,具体值应根据隧道围岩等级情况进行设定。一般新钻头从头到尾有锥度,随着钻头的磨损程度增大,钻头部分逐渐由正锥变为倒锥,使得在岩石内无法回撤最终造成卡钻。因此当凿岩台车的卡钻现象频繁出现时,应检测防卡钎的压力设定值是否正常,并及时更换钻头。
凿岩机的推进力由推进梁上的凿岩机推进油缸提供,推进压力的大小要根据钻杆直径、钻头类型以及围岩情况来选择,推进压力设置不合理会造成钻头非正常磨损以及钻杆弯曲断裂。智能型凿岩台车的推进压力可由操作人员在系统中进行设定,在钻孔施工前要对凿岩机的相关参数进行检查,保障施工安全。
2.3 定期检查液压油缸磨损情况
凿岩台车的施工环境比较恶劣,因此有必要对液压油缸的活塞以及活塞杆的磨损情况进行定期检查,如果活塞杆的表面镀层因磨损而剥落或产生纵向拉痕,将导致密封件失效引起油缸内泄。液压油缸出现泄露,将无法长时间保持压力,并会产生推力或拉力不足、速度缓慢以及抖动现象。因此在凿岩台车的每班次施工结束后,要全面检查液压缸的缸体附近以及活塞杆的伸出部位有无液压油,并定期在关节轴承处添加润滑油脂,减小油缸的运动阻力。
2.4 定期检查液压泵的运转
液压泵出现故障会直接影响整个凿岩台车的正常运转,因此要延长泵的工作寿命就要对液压泵维修保养工作高度重视。凿岩台车主泵使用的是轴向柱塞恒压变量泵,柱塞泵的常见故障为机械结构摩擦生热或回油滤堵塞导致的柱塞泵过热、密封或内部元件损伤导致的泄露以及柱塞泵液压系统污染。在柱塞泵的维护保养过程中检查到油液温度异常时及时处理,并定期对吸油滤及吸油管路进行检查,及时紧固螺栓并更换损坏的元器件,针对故障原因制定科学的维修措施。
3 凿岩台车日常维保问题分析
(1)油液温度。监测到液压油温度过高时要检查液压油油位是否过低,并检查冷却器是否堵塞,如因为水质太差堵塞散热器需增加水沉淀池改善水质。
(2)液压泵。液压泵噪音大时检测油箱中的吸油滤滤芯是否堵塞以及吸油管是否漏油,并检测液压油位与液压泵与电机同轴度是否正常。
(3)臂架动作。大臂无法动作时检查定位泵泵2是否正常启动,并检查PVG多路阀的对应工作联是否正确得电及其阀芯是否卡滞使流量控制失灵。
(4)空压机。空压机高温报警时要检查是否洞内灰尘过大将空压机散热片堵塞、检查是否温度传感器故障、检查高温时风扇是否非正常转动以及检查空压机冷却液是否过少及是否清洁。
(5)增压水泵。水泵出口压力过低或过高时检查入口水压是否正常、检查水路部分管路是否存在泄露、检查入口水源是否达标,如不达标更换水源或增加沉淀水池。水泵无法启动时要检查水路流量计是否正常以及水流量是否正常、电磁阀是否正常工作以及是否端头堵塞。
(6)凿岩机。凿岩机冲击无压力或压力过低时检查冲击泵泵1的控制阀组是否正常得电及电流是否正常,并检查冲击压力传感器是否损坏或是否需要重新标定。凿岩机的冲击油管震动过大时检查蓄能器是否损坏或氮气泄露,并进行充氮或更换蓄能器膜片。
(7)钻头及钻杆。钻头磨损过快时检查是否水泵供水压力不足使得孔内未清理干净、检查转速是否正常并用回转仪对不正常的转速进行标定,钻杆不正常断裂时检查凿岩机的推进压力是否正常达到设定值。
4 总结
凿岩台车是钻爆法施工的核心设备,其液压系统及日常维保工作涉及专业范围广、维修部件多,只有对其液压系统组成及常见故障充分了解,并在日常生活中对设备进行精细化的维护保养,才能保证设备的长期稳定运转,使凿岩台车在掘进中发挥最大的使用效率。