我国潜孔冲击器的发展历程
1 第一代潜孔冲击器
1965年,我国生产出了第一具潜孔冲击器。它由后接头、调整垫、阀座、阀片、阀盖、活塞、外套管、前接头与气缸、横销、竖销等零件组成。外套管长度为347毫米、外径为77毫米。活塞直径71毫米、长度为84.5毫米。装配后总长446毫米。
这种冲击器采用板阀压差式配气、侧排气结构。后接头与钻杆连接螺纹为矩形螺纹。后接头与外套管连接为普通粗牙螺纹。它的气缸与前接头为一个零件。气缸外周铣有配气槽,其外径与外套管内径过盈配合烘装后焊接在一起。前接头与气缸前端有钎尾孔,钎头尾部装入孔中,用扁销把前接头与气缸和钎头连接。扁销既传递扭矩又吊挂钎头。活塞为实心式。见图1。

它的工作原理是:从钻杆和后接头进到冲击器里的压缩空气通过后接头的轴向孔后分成两路。一路沿后接头径向孔通过前接头与气缸外周铣的配气槽直接到达孔底而形成吹渣回路。另一路通过后接头的轴向孔进入阀座的轴向孔反向中心孔后,通过阀座的径向孔沿前接头与气缸外周的另一条配气槽到达冲击器的前室(把前接头方向定为前室)。这时前室由活塞、前接头与气缸、钻头共同形成密闭空间,由于压缩空气的作用推动活塞左移,做冲程准备。当活塞移动到把前接头与气缸的排气孔堵住后,冲击器后室在活塞左移作用下压力逐渐升高。当活塞运动到前接头与气缸的另一个排气孔打开时,冲击器前室压力下降,在阀片两侧形成压力差。在压力差的作用下,阀片左移,完成配气换向。这时压缩空气通过阀座轴向孔直接进入冲击器后室而推动活塞右移,从而形成冲击力对钎头做功,完成一个冲击循环。
这种冲击器的诞生,使我国的大孔径(相对于当时直径40以下孔径)岩石钻凿产业步入了机械化开采的时代。它使得岩石钻凿劳动强度大大降低,生产效率显著提高。在我国具有划时代的意义。这是我国的第一代潜孔冲击器。图1所示是C80型潜孔冲击器,它的钻孔直径是80~90毫米。随后生产的潜孔冲击器还有C100型潜孔冲击器,钻孔直径100~120毫米。C150型潜孔冲击器,钻孔直径150~170毫米。后两种潜孔冲击器与C80型潜孔冲击器的结构原理、零件组成相似。只是钻孔直径、零件大小不同。
随着时间的增加,人们对岩石钻凿产业的生产效率提出了更高的要求。由于第一代潜孔冲击器的排渣系统不能完全直接吹扫孔底,使得钻孔时排渣不畅,重复凿岩严重,因此严重阻碍生产率的提高。因为第一代潜孔冲击器采用焊接结构,而焊接结构不耐冲击,不耐震动,因此它的寿命很短,浪费了大量原材料,并且很难修复。第一代冲击器没有逆止阀,不能钻水孔。第一代冲击器所配钎头的合金块与钎头焊接结合,强度低,不利于冲击功的提高。于是人们设计了第二代潜孔冲击器,从而淘汰了第一代潜孔冲击器。但是由于我国生产发展不平衡,第一代潜孔冲击器一直到2004年还有个别企业在使用。
2 第二代潜孔冲击器
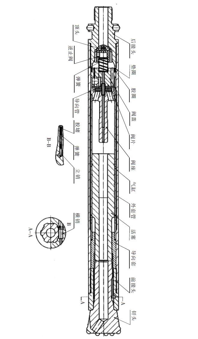
第二代潜孔冲击器从1987年开始生产。典型代表是QCZ90型潜孔冲击器,见图2。它由后接头、垫圈、胶圈、阀盖、阀片、阀座、��缸、外套管、活塞、导向套、前接头、钎头、顶头、逆止阀、弹簧、导向管、胶堵、立销、横销等零件组成。QCZ90型潜孔冲击器外套管总长608毫米、外径76毫米,活塞直径53毫米、长度240毫米,装配后总长795毫米,钻孔直径90~100毫米。这种冲击器采用板阀压差式配气、中心排气结构。后接头与钻杆连接螺纹为矩形螺纹,与外套管连接也是矩形螺纹。钎头与前接头是花键连接。钎头与冲击器的连接是由横销、立销、弹簧、胶堵共同完成的,属于吊挂式结构。

它的动作原理是:潜孔冲击器开始工作时,压缩空气由后接头经逆止阀进入阀盖左端后分成两路。一路是强吹气气路。压缩空气经阀盖、导向管、配气管、活塞中心孔、以及钎头的中心孔进入孔底,直接吹扫孔底岩渣。另一路是完成工作配气回路。从返回行程开始,阀片处于和阀座贴紧位置。钎头缩回冲击器内部,尾部与活塞贴住,如图2所示位置。压缩空气经过阀片左端进入阀盖的孔道后经阀入阀座弧形槽进入外套管与气缸之间的环形槽到达活塞前腔,推动活塞左移。当活塞移动到与配气座的配气杆开始配合时,冲击器后腔的排气通道被关闭,后室处于密封压缩状态,活塞在惯性力作用下继续左移,密封的空气被压缩,后室的压力不断升高。与此同时,活塞右端小端外圆与导向套内孔脱离接触。前室压气通过导向套内孔、钎头内孔排出。前室压力下降,导致阀片左端压力下降。在阀片左右两端形成压力差。阀片右端受到逐渐升高的背压作用,迅速移向阀盖一侧,关闭了冲击器前室的进气气路,准备做冲程行程,配气完成了活塞返程过程。冲程开始时,活塞和阀片均处于左端位置,压缩空气经阀盖和阀片右端进入阀座和气缸后腔,推动活塞向右移动。此时活塞以很高的速度冲击钎头尾部,同时导向套被封闭,冲击器前腔压力开始上升。这时活塞的后端离开配气座的配气杆,后腔压气经过活塞和钎头的中心孔排出。于是后腔压力降低,工作行程完成。活塞在冲击钎头尾部的瞬间,阀片由于其前后的压力差作用而换向,然后活塞开始返程动作,完成了一个工作循环。
QCZ系列冲击器还有QCZ150型冲击器,钻孔直径150毫米,QCZ170型冲击器,钻孔直径170毫米。其结构形式和组成原理与QCZ90型冲击器相同,这里不再重复介绍。
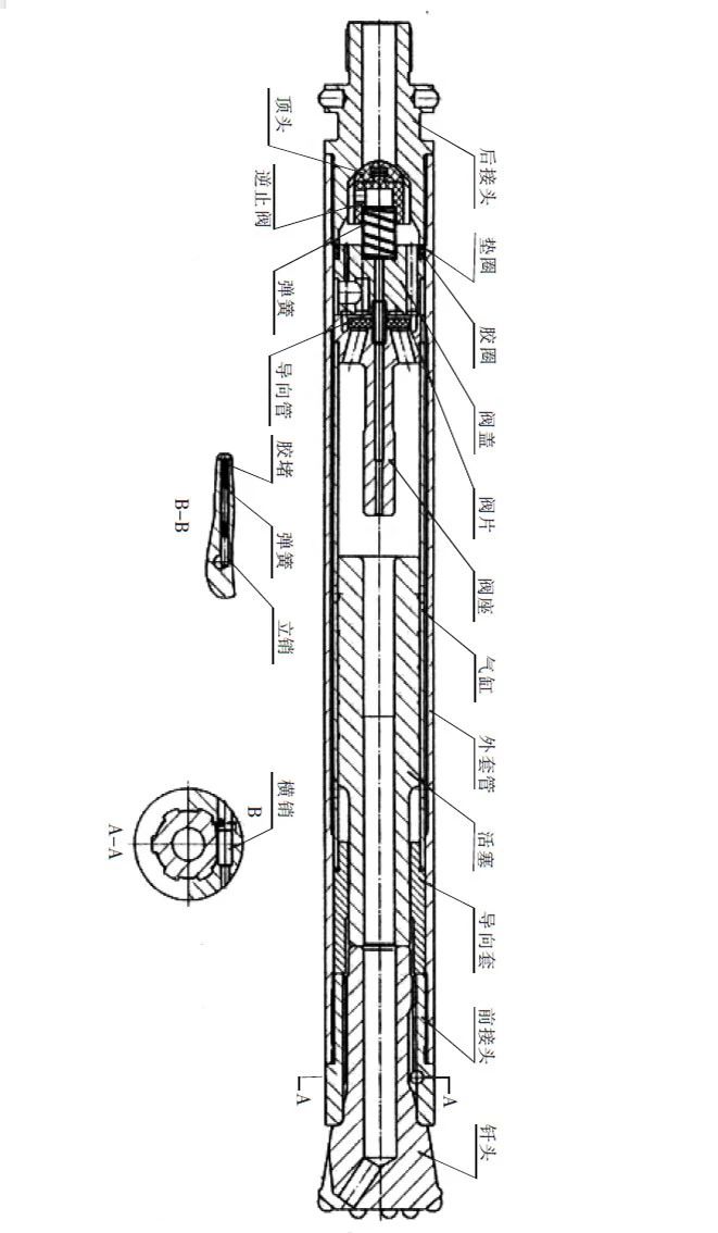
随着时间的推移,QCZ90型潜孔冲击器在使用中出现了一些人们不满意的问题。于是我国的工程技术人员对QCZ90型冲击器进行了重要改进:把矩形阀片改成圆形阀片,把前接头的花键加大,以便承受更大的扭矩,把矩形螺纹加强等。改进的冲击器定名为CIR90型潜孔冲击器。它由后接头、垫圈、胶圈、阀盖、阀片、阀座、气缸、外套管、活塞、导向套、前接头、钎头、顶头、逆止阀、弹簧、导向管、胶堵、立销、横销等零件组成,见图3。它的动作原理和QCZ90型潜孔冲击器相同。

CIR90型潜孔冲击器外套管长655毫米、外径80毫米,活塞直径60毫米、长度280毫米,装配后总长795毫米,钻孔直径90~130毫米。在气压为0.63MPa条件下耗气量为8立方米/分钟,活塞单次冲击功为132焦耳,冲击频率1160次/分钟。
C系列冲击器、QCZ系列冲击器、CIR系列冲击器都是低气压系列冲击器。它们的使用气压范围为0.5~0.7MPa。其中CIR系列冲击器的设计最为完善,一直到现在还在使用,只不过各个厂家的制造工艺、名称有所不同而已。
CIR系列冲击器还有下列一些规格:CIR65、CIR70、CIR80、CIR110、CIR150、CIR170等。
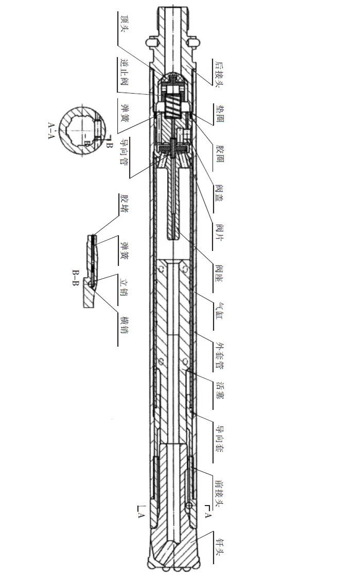
CIR70型潜孔冲击器外套管长647毫米、外径66毫米,活塞长280毫米、外径48毫米,钻孔直径70~80毫米,装配后总长802毫米。它由后接头、弹簧、逆止阀、顶头、外套管、活塞、导向套、前接头、钎头、圆键、立销、胶堵、弹性堵等零件组成,见图4。

CIR80型潜孔冲击器外套管长655毫米、外径72毫米,活塞长280毫米、外径53毫米,装配后总长797毫米,钻孔直径80~90毫米。它由后接头、垫圈、胶圈、阀盖、阀片、阀座、气缸、外套管、活塞、导向套、胶接头、钎头、顶头、逆止阀、弹簧、导向管、胶堵、立销、横销等零件组成,见图5。

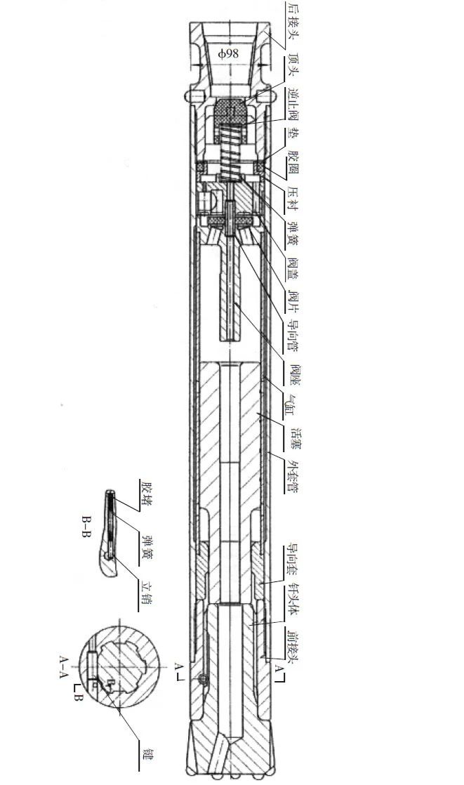
CIR110型潜孔冲击器外套管长668毫米、外径98毫米,活塞长290毫米、外径75毫米,装配后总长842毫米。钻孔直径110~130毫米。它由后接头、顶头、逆止阀、垫、胶圈、压衬、弹簧、阀盖、阀片、导向管、阀座、气缸、活塞、外套管、导向套、钎头、前接头、键、立销、胶堵等零件组成,见图6。

CIR150型潜孔冲击器外套管长734毫米、外径136.5毫米,活塞长300毫米、外径104毫米,装配后总长906毫米。它由后接头、顶头、逆止阀、阀盖、阀片、阀座、气缸、外套管、活塞、导向套、前接头、钎头、弹簧、调整垫、胶圈、压衬、导向管、圆键、胶堵、键销等零件组成。最佳钻孔直径150~170毫米,见图7。

3 第三代潜孔冲击器
第三代潜孔冲击器属于高气压潜孔冲击器。它和低气压潜孔冲击器比较有了质的飞跃。它们属于无阀式潜孔冲击器,使用气压为2~2.5MPa。高气压潜孔冲击器最早是DHD系列冲击器,于1987年由美国引进。典型代表为DHD360型高气压潜孔冲击器,见图8。

DHD360型高气压潜孔冲击器由后接头、密封圈、逆止阀、调气塞、垫圈、碟簧、弹簧、配气座、气缸、活塞、外套管、导向套、卡簧、保持环、前接头等零件组成。它的外套管长1121毫米、外径136毫米,活塞直径108毫米、长446毫米,装配后总长1385毫米,最佳钻孔直径155~165毫米之间范围。它的后端用API3 1/2REG锥形螺纹与钻杆连接。前端通过前接头和保持环与轩头连接。
DHD360型高气压潜孔冲击器在工作中只有活塞在运动。因此和低气压冲击器比较故障率有了极大的降低。它的外套管左右对称设计,方向可以互换。在一端磨损较重,另一端磨损较轻时,可以拆开冲击器,掉头重新装配,以达到延长冲击器使用寿命的目的。
DHD360型潜孔冲击器的工作原理是:开始工作前如图8所示位置。高压气体通过后接头的中心孔推开逆止阀以后分为两路:一路通过调气塞进入配气座中心孔,再沿气缸内孔、活塞内孔、钎头内孔、钎头排气孔到达钻孔孔底,实现吹渣,使岩渣排出孔外。这只是高压气体中的一小部分;另一路,即高压气体的主要部分则通过配气座的轴向孔、气缸的进气孔进入外套管与气缸之间的间隙。为了通气,外套管内侧设计有通气用的环形槽;气缸外圆铣有通气用扁,内孔铣有偏心槽;活塞外圆铣有通气用“U”型槽。高压气体通过这些通气道进入前部由活塞、导向套、钎头、外套管共同形成的回程气室。回程气室内的高压气体推动活塞向后运动。当活塞运动到活塞大端内孔与钎头上的钎尾管脱离时,高压气体通过钎尾管内孔、钎头中心孔、钎头排渣孔到达孔底。它与从调气塞过来的高压气体会合,共同完成吹渣、排渣。同时前室气体压力迅速下降。而与此同时,由于活塞回程运动关闭了回程进气通道,活塞靠惯性力继续回程运动,直到活塞的惯性力与活塞由进气压力形成的冲程力平衡时,活塞才停止返程运动,在冲程压力作用下进行冲程运动打击钎头而做功,完成破岩工作。当冲程运动到快要接近钎头时,回程进气通道打开,开始了活塞的回程准备工作。如此往复,完成冲击器的钻进工作。
如图所示,当活塞回程进气通道被活塞的返程运动关闭时,当高压气流通过后接头的中心孔,推开逆止阀,再经过配气座的轴向孔、气缸的径向孔而进入由外套管、活塞、气缸共同封闭形成的冲程室。由于高压气流的作用,在活塞大端直径与小端直径的差而行成的环形面积上产生一个力,这个力就是冲程力的一部分,这个力不大,所以造成活塞返程时能够靠惯性力来克服这一冲程力而运动一段距离。在活塞运动到活塞小端中心孔与配气座右端端面封住时,这是活塞小端面、配气座与气缸内孔共同形成了第二个冲程气室。由于活塞的惯性使冲程气室内气体受到压缩,室内压力上升。活塞继续回程运动,当活塞小头右端面超过气缸内孔偏心槽时,高压气体通过活塞小头细径与气缸内径,气缸偏心槽的间隙进入第二个冲程气室,这时冲程压力才达到最大。它是由三部分组成的:一是活塞大径与小径的差形成的环形面积;二是活塞小端面积减去活塞内孔面积得到的差;三是压缩气体的膨胀做功。
当钻机工作结束时,孔底往往存有岩渣,泥水混合物等。为使孔底清洁,或遇到岩口有大的裂缝时,需要强吹风以便排渣。即冲击器停止工作,全部压气都用来吹渣、排渣。该型高气压潜孔冲击器设计有强吹风系统。它的原理是提起冲击器,这时钎头如图示方向向右运动,活塞跟着钎头向右运动,直到活塞小端移动到使气缸最右端的孔(既吹渣孔)露出。这时进气通过吹渣孔进入活塞中心孔,再沿着中心孔进入钎头中心孔最后到达钻孔孔底。同时冲击器的循环运动系统通道被封闭,停止冲击工作,所有高压气体都用于吹渣、排渣。若要恢复冲击工作,只要操纵钻机进给系统,使钎头向左运动,顶住岩石,达到图示位置,就能继续冲击破岩工作了。
第三代高气压潜孔冲击器还有DHD3.5、DHD340A、DHD350、DHD380等系列规格产品。
DHD3.5型高气压潜孔冲击器(见图9)由后接头、密封圈、弹簧、逆止阀、调整垫、碟簧、卡环、配气杆、气缸���活塞、外套管、导向套、保持环、前接头等零件组成。外套管长716毫米、外径82毫米,活塞长337毫米、外径64毫米,装配后总长907毫米,后接头与钻杆连接螺纹为API2 3/8REG锥形螺纹。最佳钻孔直径范围95~115毫米。

DHD340A型高气压潜孔冲击器(见图10)由后接头与气缸、密封圈、套座、调气塞、弹簧、逆止阀、配气杆、外套管、活塞、卡簧、保持环、前接头、调整垫等零件组成。它的外套管长789毫米、外径92毫米,活塞长405毫米、外径75毫米,装配后总长1050毫米,后接头与钻杆用API2 3/8REG内锥螺纹连接,最佳钻孔直径105~115毫米。

DHD350型高气压潜孔冲击器(见图11)由后接头、密封圈、胶垫、垫圈、衬套、逆止阀、弹簧、配气座、气缸、外套管、活塞、保持环、前接头等零件组成,外套管长941毫米、外径122毫米,活塞长389毫米、外径98毫米,装配后总长1254毫米,最佳钻孔直径140~160毫米,后接头与钻杆连接螺纹为API2 3/8REG锥形螺纹。

DHD380型高气压潜孔冲击器(见图12)由后接头、密封圈、调整垫、碟簧、套、调气塞、逆止阀、弹簧、配气座、气缸、定位环、活塞、外套管、胶垫、保持环、前接头等零件组成。它的外套管长1202毫米、外径181毫米,活塞长410毫米、外径148毫米,装配后总长1554毫米,后接头与钻杆连接螺纹为API4 1/2REG锥形螺纹。它的最佳钻孔直径200~250毫米。

在高气压潜孔冲击器和低气压潜孔冲击器之间还有一种中气压潜孔冲击器,使用气压为1.05~1.75MPa。其结构原理以高气压为主,属于无阀式冲击器。它的钎头与冲击器连接为花键连接,虽然是成熟产品,但是在国内市场应用较少。其典型代表为DH4、DH6、CWG110W等。
CWG110W中气压潜孔冲击器(见图13)由后接头、逆止阀、垫圈、胶垫、弹簧、配气座、气缸、外套管、活塞、导向套、前接头、横销、立销、胶堵等零件组成。其外套管长742毫米、外径98毫米,活塞长382毫米、外径81毫米,装配后总长912毫米,后接头与钻杆连接为API2 3/8REG内锥螺纹连接,最佳钻孔直径为110~130毫米。

4 第四代潜孔冲击器
第四代潜孔冲击器通常叫做快冲式高气压潜孔冲击器,是2004年以后由我国工程技术人员自主开发研制成功的新一代高气压潜孔冲击器。它具有下列特点:把DHD系列冲击器对称设计改为不对称设计,从而使冲击器总长减少、外套管缩短;通过改变活塞形状与结构形式的方法使冲击器所配钎头不用钎尾管;比DHD系列冲击器零件少、结构简单、维修方便;比DHD系列冲击器冲击频率高、能量损耗低、省气省油。其典型代表为HD45型高气压潜孔冲击器,见图14。

HD45型高气压潜孔冲击器由后接头、密封圈、逆止阀、弹簧、配气座、气缸、外套管、活塞、导向套、保持环、前接头等零件组成。其外套管长744毫米、外径98毫米,活塞长359毫米、外径80毫米,装配后总长987毫米,后接头与钻杆连接螺纹为API2 3/8REG锥形螺纹。最佳钻孔直径为110~135毫米。
HD45型高气压潜孔冲击器的动作原理是:开始工作前如图14所示位置。高压气体经过后接头的中心孔推开逆止阀再经过配气座的轴向孔、气缸的进气孔后进入外套管与气缸之间的间隙。为了通气,外套管内侧和气缸内外圆设计有通气用的环形槽,活塞外圆铣有通气用“U”型槽。高压气体通过这些通气道进入前部由活塞、导向套外套管共同形成的回程气室。回程气室内的高压气体推动活塞向后运动(我们把后接头方向定为后,前接头方向定为前)。当活塞运动到前端外圆与导向套内孔脱离时,高压气体通过钎头中心孔、钎头排气孔到达孔底,完成吹渣、排渣目的。同时气体压力迅速下降。而与此同时,由于活塞回程运动关闭了回程进气通道,活塞靠惯性力继续回程运动,直到活塞的惯性力与活塞由进气压力形成的冲程力平衡时,活塞才停止返程运动。在冲程压力作用下进行冲程运动打击钎头做功,完成破岩工作。当冲程运动到快要接近钎头时,回程进气通道打开,开始了活塞的回程准备工作。如此往复,完成冲击器的钻进工作。由钻机的推进装置提供推力,使钎头与岩石孔底始终接触。
如图所示,当活塞回程进气通道被活塞的返程运动关闭时,高压气流通过后接头的中心孔,推开逆止阀,再经过配气座的轴向孔、气缸的径向孔而进入由外套管、活塞、气缸共同封闭形成的冲程气室。由于高压气流的作用,在活塞大端直径与后部小端直径的差而形成的环形面积上产生一个力。这个力就是冲程的一部分。这个力不大,所以造成活塞返程时能够靠惯性力来克服这一冲程力而运动一段距离。在活塞运动到活塞后部小端中心孔与配气座右端端面封住时,这时活塞小端面、配气座与气缸内孔共同形成了第二个冲程气室。由于活塞的惯性使这个冲程气室内气体受到压缩,室内压力上升。活塞继续回程运动。当活塞后部小端“U”型槽超过气缸内孔配气环形槽时,高压气体通过活塞后部小端“U”形槽与气缸内孔配气环形槽而进入第二个冲程气室,这时冲程力才达到最大。这个冲程力由三部分组成:一是活塞大径与后端小径的差而形成的环型面积;二是活塞后部小端端面面积减去活塞内孔面积所得到的差;三是压缩气体的膨胀做功。
该类型高气压潜孔冲击器还设计有强排渣系统。它的原理是:提起冲击器,这时钎头如图14所示方向向右运动,活塞跟着钎头向右运动,直到活塞后端小头端面移动到使气缸最右端的孔(即吹渣孔)露出。这时进气通过吹渣孔进入活塞中心孔,再沿着中心孔进入钎头中心孔和排气孔而到达孔底。同时冲击器的循环系统运动通道被封闭,停止冲击工作。所有高压气体都用于吹渣、排渣,使钻孔孔底清洁。若要恢复冲击工作,只要操作钻机进给系统,使钎头向后运动,顶住岩石,达到图14所示位置,就能继续冲击破岩。
图15所示为HD55型高气压潜孔冲击器。

HD55型高气压潜孔冲击器由后接头、密封圈、逆止阀、弹簧、配气座、气缸、活塞、外套管、导向套、保持环、前接头等零件组成。它的外套管外径125毫米、长831毫米,活塞直径104毫米、长383毫米,装配后总长1095毫米,后接头与钻杆连接螺纹为API2 3/8REG锥形螺纹,钻孔范围135~155毫米,重69kg。
图16所示为HD85型高气压潜孔冲击器。

HD85型高气压潜孔冲击器由后接头、密封圈、逆止阀、弹簧、配气座、气缸、活塞、外套管、导向套、保持环、前接头等零件组成。它的外套管长1010毫米、外径180毫米,活塞长470毫米、外径148毫米,装配后总长1359毫米,总重175kg,后接头与钻杆连接螺纹为API4 1/2REG锥形螺纹,最佳钻孔直径195~254毫米。
HD35型高气压潜孔冲击器由后接头、密封圈、逆止阀、弹簧、配气座、气缸、活塞、外套管、导向套、保持环、前接头等零件组成。它的外套管长698毫米、外径82毫米,活塞长344.5毫米、外径65毫米,装配后总长888毫米,总重量25kg。后接头与钻杆连接螺纹为API2 3/8REG锥形螺纹,最佳钻孔直径90~115毫米。
HD系列高气压潜孔冲击器还有HD25、HD65、HD75、HD95等规格型号,其结构原理与HD45相似,这里不再一一介绍。
5 潜孔冲击器的发展
潜孔冲击器按配气装置的型式分成有阀式配气冲击器和无阀式配气冲击器。按活塞的多少分成单活塞冲击器和多活塞冲击器。按使用气压高低分成高气压冲击器、中气压冲击器和低气压冲击器。但是不论怎样分,都是围绕一个目的,即以最小的能量消耗达到最大的钻进效率。我国的工程技术人员为这一目的做了大量的研究工作,产生了大量不同规格型号、不同用途、不同特点的冲击器。
(1)惯通式反循环冲击器:它配用双壁钻杆进行反循环连续取芯钻进,用于矿物勘探、工程地质勘察等领域。它有效解决了砂卵砾石类复杂地层钻进难、取芯难、护壁难、成本高、周期长等难题。这种钻进方法用于水文、水井钻凿,可以从根本上解决排渣、取芯、孔口污染及岩渣堵塞含水层,影响出水量等难题。
(2)跟管钻进冲击器:在冲击器冲击钻进的同时护壁管同时跟进。它解决了在松软地层、土夹石地层或其它复杂易塌孔地层的钻进难题。跟管钻进冲击器又分为对心扩孔跟管钻进和偏心扩孔跟管钻进两种不同形式。按气压高低又分为高气压跟管钻进和低气压跟管钻进两种不同形式,见图16。
CXD90B对心扩孔钻具有导向钎头、扩孔钎头、吊环、套管鞋、调整套管、冲击器、过渡接头、套管、内钻杆等零件组成。它的钻孔直径为113毫米,总长度2467毫米。

(3)组合式冲击器,组合式冲击器由几具冲击器捆绑组合而成,最大钻孔直径可达到1524毫米。
(4)返打冲击器,在锚固行业里,锚固管多数情况下都要拔出。返打冲击器利用冲击器的冲击力震动锚固管,在震动的同时拔管。这种装置也叫震动拔管器。它比静态拔管省力,大大降低了拔管成本。
第一代冲击器是焊接结构,第二代冲击器改为组装结构,是有阀结构冲击器,第三代改为无阀结构冲击器。各代冲击器之间又有继承,例如第四代冲击器所配的钎头与第三代冲击器所配的钎头就有互换性。只不过第四代冲击器所配钎头去掉了第三代冲击器所配钎头的钎尾管罢了。
据我所知,我国企业已经生产出了自回转冲击器、液压冲击器、高气压有阀冲击器等各种不同形式的冲击器,但是都还没有占领潜孔冲击器的主流市场。我相信不久的将来会有新一代的冲击器出现。
因本人学识有限,不当之处在所难免,请同行批评、指正。