凿岩台车偶发断路器跳闸故障的分析与改进
凿岩台车是将一台或几台凿岩机连同推进器安装在特制的钻臂上,并配以底盘,进行凿岩作业的设备。现场施工的操作人员需要操作转向制动、支腿伸缩、动臂举升、凿岩推进等动作,而实现这些动作的动力来源于发动机或电机。
1 故障现象
某型凿岩台车在装配结束进入调试后,偶发断路器跳闸故障。根据现场反馈,整车在接通380VAC后,间隔一段时间,断路器F22跳闸,导致380VAC无法通过充电器给蓄电池充电,将断路器的复位开关恢复后,该断路器依然会间隔一段时间跳闸。反复如此,间隔时间有时为5min,有时20min,不确定。
2 工作原理
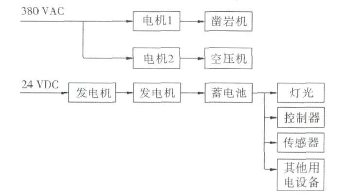
该型凿岩台车的供电电源系统由两部分组成,380V交流系统和24V直流系统。其中380V系统用于提供给凿岩电机电能以及空压机的电机电能,24V直流电压用于给整车的低压电气元件提供电能,如灯光、控制器、传感器及发动机ECU等。
当车辆凿岩时,整车底盘静止,凿岩机构采用380V交流系统,当车辆行驶时,整车动力由发动机提供,其搭载的发电机给蓄电池充电并提供整车的24V直流电源。整车供电电源系统如图1所示。

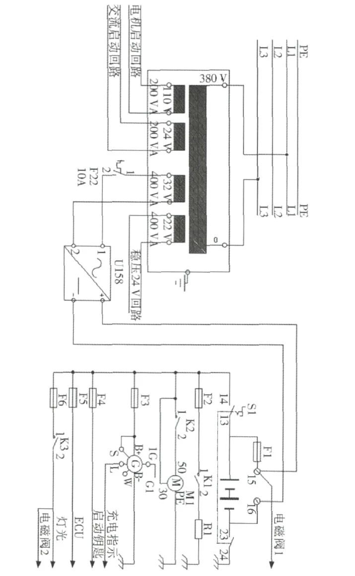
功能分析:变压器将三相交压(L1/L2/L3)的线电压380V变压至多种交流电压:110VAC、24VAC、32VAC、22VAC。110VAC用于电机的启动回路,24VAC用于交流电机的启动、停止及急停安全控制回路,32VAC用于给24V蓄电池充电,22VAC用于整车稳压24V回路。整车24V用电设备同时从蓄电池和充电器U158处取电,其电源接线示意图如图2所示。

充电器U158与蓄电池相连,共同提供24VDC电能给整车,根据图2所示,U158输出侧负载有蓄电池、预热塞R1、启动马达M1、发电机G1、启动钥匙回路、灯光回路、电磁阀1回路、电磁阀2回路及灯光。
3 故障分析
根据反馈,结合原理图分析,F22断路器位于变压器和U158充电器输入端之间,故F22跳闸的直接原因是因为U158的输入电流超标,而其输入电流的大小取决于U158外接的负载大小。初步判断,F22断路器偶发跳闸故障有以下几方面原因:1)F22容量选型偏小;2)U158损坏导致输入电流增加;3)U158的负载侧有异常的高负荷,即持续输出高电流。
4 故障排查
将F22和U158更换后,F22依然会出现跳闸现象。故障的问题很可能出现在F22容量选型偏小和U158的负载侧有持续高电流的负荷两方面。
给整车通380VAC后,采用电流钳测试F22所在线路的电流,即U158的充电电流为14.1A,而F22断路器的规格为15A,故很容易导致断路器跳闸。因该产品已批量使用,故可暂时排除是F22容量选型偏小的原因。因此需要排查导致产生14.1A电流的原因,即U158输出侧哪部���负载消耗了较大的电流。
结合图2,排查问题的方法可简化为:1)切断外部负载,排查U158到蓄电池的回路;2)切断蓄电池,排查U158到外部负载的回路。简化后的电路示意图如图3所示。

然而在实际现场,上述两种方法都不方便排查。首先,整个外部负载都已经通过特殊的接线端子固定到蓄电池正负极,切断外部负载,意味着需要断开接线端子。其次,由于蓄电池是控制图2变压器输入的先导条件,如果切断蓄电池,U158无法工作。除非再额外给变压器提供先导电源。
再优化故障排查方法:切断U158,检测蓄电池到外部负载的回路。如果该方案排查不出问题,再进行之前的故障排查。经排查发现:当不接通380VAC,即切断U158,只接通24VDC,测试蓄电池的负极电流损耗,发现有3.2A的电流。
参照图2,将外部负载一一断开排查并测量,拆卸顺序和测量的电流如表1所示。

从表1可见,拆除发电机G1部分线路,会导致损耗电流从3.2A降到1.4A。因而该故障最大的原因可能发生在发电机G1处。查看G1的接线图,发现该款发电机属于他励型,正确接线如图4所示。

经排查,发电机实际接线有误,如图5所示。

从图5可以看出发电机的S口未接24V电,而系统24V电接到L充电指示,而作为充电指示的回路却接到W转速表端口上了。因此,蓄电池电量通过发电机的L端口被消耗。按照正确的接法重新接线后,再次测量蓄电池负极的电流,该电流为1.4A。然后将380VAC接通后,充电器U158侧的负载减小,测量F22的电流为11.7A,比之前的14.1A降低了2.4A。经反复测试,F22不再发生跳闸。
5 改进建议及预防措施
在装配现场,发现发电机连接处空间较小,容易接错,因此,此处在装配时要严格按照图纸接线,保证产品的可靠性。该产品发动机连接处严格按照图纸接线调试后,未出现类似故障。截止目前,已装车产品,没有再收到反馈断路器跳闸问题。
在本次故障中,当U158充电器工作时,由于其负载侧存在异常损耗,导致U158输出较大电流,同时导致其输入侧的电流超标,F22断路器发生跳闸。当启动钥匙未断且U158不工作的时候,若未及时关闭蓄电池总开关,蓄电池会通过发电机接错的线路损耗电量。经过一段时间后,蓄电池的实际容量将无法正常启动车辆。因此在发生该故障的情况下,蓄电池亏电时间需要引起重视。
因工程机械上的启动回路原理和汽车行业的相同,且企业规范要求常温启动,蓄电池应提供60%的额定容量,所以可计算出当电源总开关未按要求关闭后到车辆无法正确常温启动的时间。
已知蓄电池电量为70A·h,损耗电流为3.2A,若蓄电池总开关未闭合,则经过时间t,蓄电池容量由90%降到60%。(90%为车辆下线时蓄电池的实际容量与额定容量的百分比;60%为确保车辆正常启动的蓄电池最低实际容量与额定容量的百分比),则:
t=70A·h×(90%-60%)÷3.2A=6.6h
结果表明,如果操纵工未及时断开电源总开关,则经过6.6h,蓄电池降到60%容量,车辆无法正常启动。
因此,为避免出现车辆无法正常启动的故障,需增加如下调试步骤要求:1)在三相电压未接通时,闭合电源总开关,测量蓄电池负极流通电流,必须小于设定值;2)车辆使用结束后,需及时关闭电源总开关。通过完善以上调试步骤,产品的电气质量得到有效控制,产品的可靠性进一步提高。